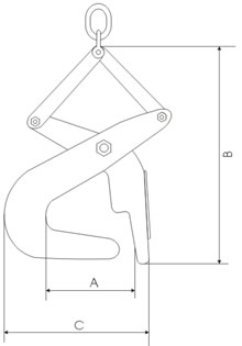
Przeznaczony do podnoszenia i transportu ceowników. Stosując dwa należy zastosować trawersę. Udźwig podany jest dla jednej sztuki.
![]() |
![]() |
|
|||||||||||||||||||
W zamówieniu należy podać Typ.
Zdjęcia:


Uchwyt szczękowy do ceowników Typ UC-1,5 DOR - 1,5t.


Uchwyt szczękowy do ceowników Typ UC-1,5 DOR - 1,5t.

