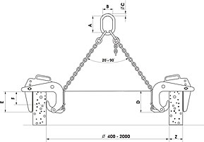
Uchwyt UBX przeznaczony jest do podnoszenia i transportu pionowego kręgów betonowych. Udźwig podany jest dla 1 szt. Komplet stanowią trzy uchwyty współpracujące z zawiesiem łańcuchowym.
![]() |
![]() |
|
|||||||||||||||||||||||||||||||||||||||||
W zamówieniu należy podać Typ.
Zdjęcia:
Uchwyt do podnoszenia kręgów betonowych typ UBX 1,0t 50-180mm
(w komplecie na kręgu)

