Warning: Trying to access array offset on false in /home/platne/serwer405843/public_html/trawersy.com.pl/core/inc/layout/layout.php on line 13

Warning: Trying to access array offset on false in /home/platne/serwer405843/public_html/trawersy.com.pl/core/inc/layout/layout.php on line 14

Warning: Trying to access array offset on false in /home/platne/serwer405843/public_html/trawersy.com.pl/core/inc/layout/layout.php on line 15
Daw-Mar II / Typ UBP i UBPO

Typ UBP i UBPO

Uchwyty UBP, UBPO przeznaczone są do podnoszenia pojedynczych lub związanych pakietów blach w pozycji poziomej. Udźwig podany jest dla 1 szt. Dwa uchwyty stanowią komplet. Maksymalny kąt między cięgnami wynosi 90 st.



UCHWYT PRZEGUBOWY DO PRZENOSZENIA BLACH W PIONIE TYP UPX – WYKONANIE LEKKIE UCHWYT PRZEGUBOWY DO PRZENOSZENIA BLACH W PIONIE TYP UPX – WYKONANIE LEKKIE - WYMIAROWANIE
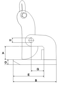
Typ Udźwig  1 szt. kg Zakres
chwytania szczęk 
mm
A
mm
B
mm
D
mm
E
mm
F
mm
G
mm
H
mm
Waga
kg
UBP–0,5 500 0 - 30 35 130 12 90 25 35 20 2,6
UBP-1 1000 0 - 50 60 180 16 114 28 60 24 7,6
UBP-1,5 1500 0 - 50 60 180 20 114 28 60 24 8,0
UBP-2 2000 0 - 50 60 220 20 139 30 60 30 10,8
UBP-3 3000 0 - 50 60 220 25 139 30 60 30 14,4
UBP-4 4000 0 - 50 60 230 30 140 30 60 30 17,5
UBP-5 5000 0 - 50 60 230 35 140 30 60 30 21,0
UBPO-1 1000 0 - 90 100 185 16 114 30 60 24 9,5
UBPO-1,5 1500 0 - 90 100 185 20 114 30 60 24 9,9
UBPO-2 2000 0 - 90 100 225 20 130 30 60 24 13,5
UBPO-3 3000 0 - 90 100 225 25 144 30 60 30 16,7
UBPO-4 4000 0 - 90 100 230 30 144 30 60 30 22,5

W zamówieniu należy podać Typ. Wykonanie z ząbkami należy dodać Z .
 


Zdjęcia:

Typ UBP-R 1 DOR-1t L-120mm

 

Typ UBP-3 DOR-3t zakres chwytania blach 0-50mm

 
Uchwyt do przenoszenia blach w poziomie - TYP  UBP 1,5t i zakresie chwytania 0 - 50mm , wykonanie bez ząków na szczęce dociskowej. Możliwe wykonanie z ząbkami.

Uchwyt do przenoszenia blach w poziomie - TYP  UBP 0,5t i zakresie chwytania 0-30mm , wykonanie bez ząbków na szczęce dociskowej. Możliwe wykonanie z ząbkami.