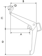
Przeznaczony do pionowego transportu beczek. Prosty w zastosowaniu i obsłudze.
![]() |
![]() |
|
|||||||||||||||||
W zamówieniu należy podać Typ.
Zdjęcia:
Zdjęcie przedstawia uchwyt do transportu beczek Typ BP oraz sposób jego mocowania na beczkach. Uchwyt zamocowany na uchwycie widłowym Typ UW-1.

